KFT 絲扣風機盤管橡膠接頭球體是由內膠層、增強層有多層刮膠錦綸簾子布、外膠層復合的橡膠管組成。風機盤管橡膠接頭,解決了以傳統(tǒng)型橡膠接管因互換性差及密封性差等因素造成的易泄露的缺陷,使用更為安全可靠。同時還可以根據不同使用條件選擇不同材料的連接元件,適用范圍更加廣泛。適用于水、油、空氣等,風機盤機組是管道進出口連接的佳產品。








KFT絲扣風機盤管橡膠接頭球體是由內膠層、增強層有多層刮膠錦綸簾子布、外膠層復合的橡膠管組成。根據介質不同所采用的橡膠材質也不同,有天然膠、丁苯膠、丁基膠、丁腈膠、三元乙丙膠、氯丁膠、硅橡膠、氟橡膠等等。分別具有耐熱、耐酸堿、耐腐蝕、耐磨、耐油等功能。絲扣風機盤管橡膠接頭球體是由內膠層、增強層有多層刮膠錦綸簾子布、外膠層復合的橡膠管組成。風機盤管橡膠接頭產品采用不銹鋼波紋管、紫銅波紋管和橡膠高壓軟管與鋼(或銅制)管路連接件扣件或連接而成。這種連接形式解決了傳統(tǒng)型橡膠接管因互換性差及密封性差等因素造成的易泄露的缺陷,使用更為安全可靠。同時還可以根據不同使用條件選擇不同材料的連接元件,適用范圍更加廣泛。適用于水、油、空氣等,風機盤機組是進出口管路連接的合適產品。

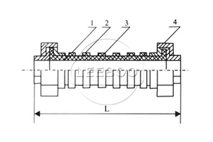
| 序號 No. | 部位 Part | 材料 Material |
| 1 | 主體 Body | 天然橡膠(NR)、氯丁橡膠(CR)、丁基橡膠(IIR)、丁腈橡膠(NBR)、氟橡膠(FKM)、三元乙丙橡膠(EPDM) |
| 2 | 內、外襯 Inner & Outer Rubber | 天然橡膠(NR) 氯丁橡膠(CR)丁基橡膠(IIR) 丁腈橡膠(NBR)氟橡膠(FKM)三元乙丙橡膠(EPDM)聚四氟乙烯(PTFE) |
| 3 | 主體骨架 Body Carcass | 尼龍簾布 Nylon cord fabric |
| 4 | 增壓環(huán) Reinforcing Ring | 多股鍍銅鋼絲 Multi-strand coppering steel wire |
| 5 | 螺紋活接頭 threaded union rubber joint | 鑄造、鍛造碳鋼 Cast and forged carbon steel(Q235)、不銹鋼 Stainless steel(201、304、316、321)、塑料 Plastic(CPVC、PVDF、PPH、UPVC、RPP) |
| 項目Item |型號Medol | KFT-1 | KFT-2 | A、如介質油,酸堿物質 B、工作溫度有特殊要求 C、也可來函來圖定制 D、訂貨時需說明 A. If media is oil, acid or alkali. B. If special requirements for working temperature C. If OEM orders with drawings or samples D. Please Inform us about above when ordering |
|
| 工作壓力MpaWoring pressure | 1.0(10) | 1.6(16) | ||
| 爆破壓力Mpa Burst Pressure | 2.0(20) | 3.0(30) | ||
| 真空度 Kpa Vacuum | 53.3(400) | 86.7(650) | ||
| 適用溫度℃Applicable Temperature | -15℃~+70℃(特殊可達-30℃~+100℃)-15℃~+70℃(-30℃~+100℃ under special conditions) | |||
| 適用介質Applicable Medium | 空氣、壓縮空氣、水、海水、熱水、油、酸、堿等Air, compressed air, water, sea water, oil, acid, alkali, etc. | |||
| 注:主要零件材料同KXT型 Note: the materials of main parts are the same with those of KXT type | ||||
| 公稱通徑DN Nominal Diameter (mm) |
長度 LengthLmm |
軸向位移 Axial displacement mm |
橫向位移 Haorizontal isplacement mm |
偏轉角度 Angular deflection(a1+a2)° |
|||
| mm |
英寸inch |
A型 | B型 | 伸長Extension | 壓縮Compression | ||
| 15 | 0.5 | 180 | 200 | 5 | 10 | 20 | 45 |
| 20 | 0.75 | 200 | 200 | 5 | 10 | 20 | 45 |
| 25 | 1 | 210 | 200 | 5 | 10 | 20 | 45 |
| 32 | 1.25 | 210 | 200 | 5 | 10 | 20 | 45 |
| 40 | 1.5 | 220 | 200 | 5 | 10 | 20 | 45 |
| 50 | 2 | 220 | 220 | 5 | 10 | 20 | 45 |
| 65 | 2.5 | 240 | 240 | 5 | 10 | 20 | 45 |
| 80 | 3 | 285 | 285 | 5 | 10 | 20 | 45 |
| 注:1、特殊要求可按用戶圖紙制作,螺紋活接頭標準采用(、ASME、BS、JIS等)螺紋標準生產。橡膠球體可做天然橡膠、三元乙丙橡膠、氯丁橡膠、丁基橡膠、丁腈橡膠、氟橡膠等。 Notes:1. For OEM orders with special requirement, threaded unions should be made according to customers' drawings. Thread standard can be , ASME, BS, JIS, etc. Material of rubber body can be NR natural rubber, EPDM, Neoprene, IIR butyl rubber, NBR Buna-N, FKM, etc. |
|||||||
咨詢熱線
0371-64030111
同微信
聯系鑫利
免費獲取 《解決方案以及報價》
在線咨詢
微信咨詢
請您添加右側號碼,微信咨詢鑫利管道